BRAKE LINES/MASTER CYLINDER - C10RB42AA (4976407640B12) | BRAKE LINES/MASTER CYLINDER - C10RB42AA (4976407640B12)

BRAKE LINES/MASTER CYLINDER - C10RB42AA (4976407640B12) | BRAKE LINES/MASTER CYLINDER - C10RB42AA (4976407640B12)
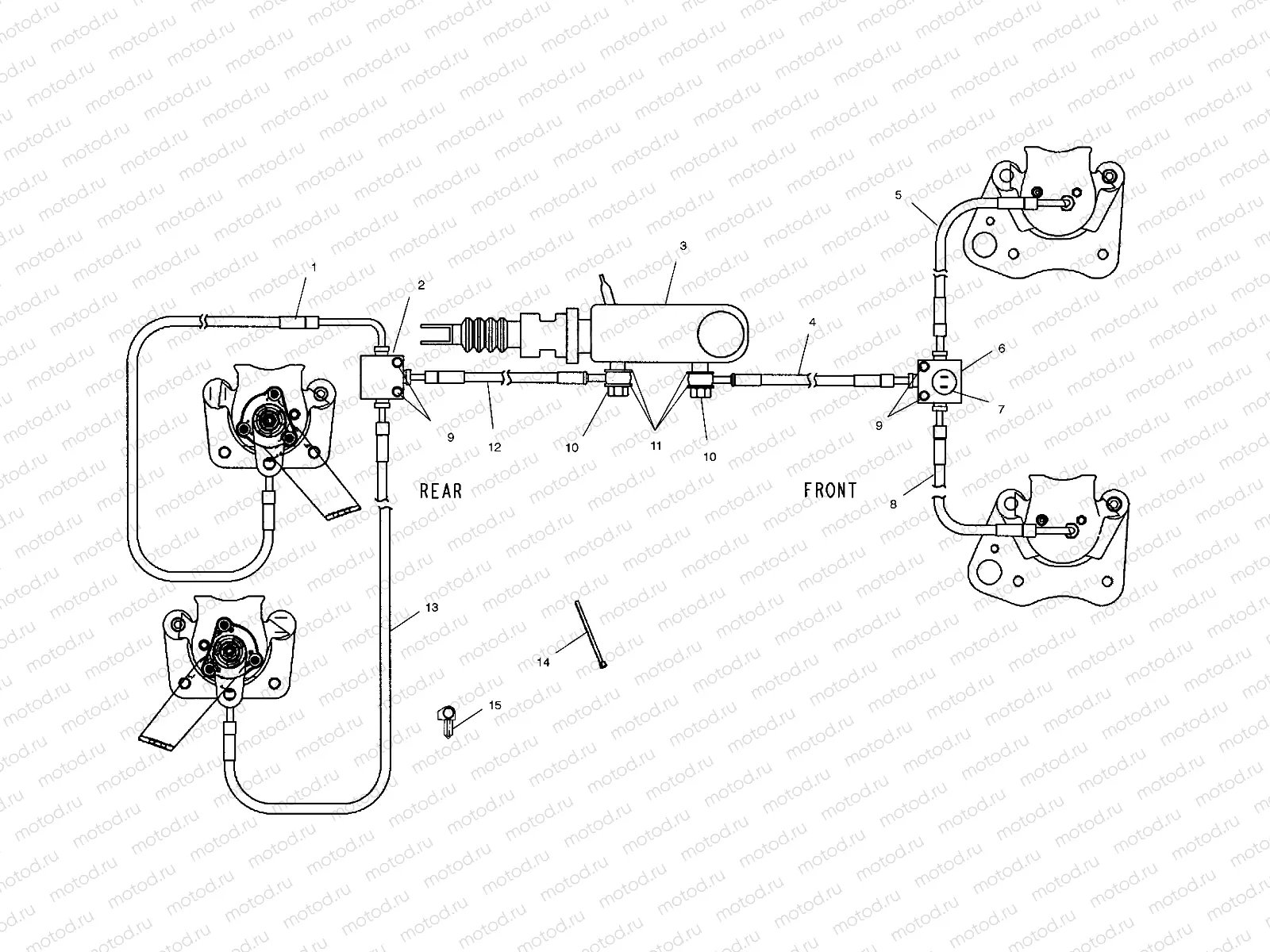
1
1910493
LINE-BRAKE SWING ARM LH
2
7052293
FITTING-TEE BRAKE
3
1910447
Asm., Master Cylinder
4
1910486
LINE-BRAKE M/C FRONT
5
1910484
LINE-BRAKE FRONT LEFT RANGER
6
4110164
SWITCH STOPLIGHT
7
7052316
FITTING-CROSS BRAKE
8
1910485
LINE-BRAKE FRONT RIGHT RANGER
9
7512025
Vis
10
1910594
BOLT-BANJO 10MMX1.00-18MM
11
5413212
SEAL-STAT-O-3/8 70EP
12
1910487
LINE-BRAKE M/C REAR
13
1910494
LINE-BRAKE SWING ARM RH
14
7080138
CABLE TIE
15
7670102
CLIP

Узлы для