REAR BRAKE ASSEMBLY Trail Boss W948527 (4926822682B013) | REAR BRAKE ASSEMBLY Trail Boss W948527 (4926822682B013)

REAR BRAKE ASSEMBLY Trail Boss W948527 (4926822682B013) | REAR BRAKE ASSEMBLY Trail Boss W948527 (4926822682B013)
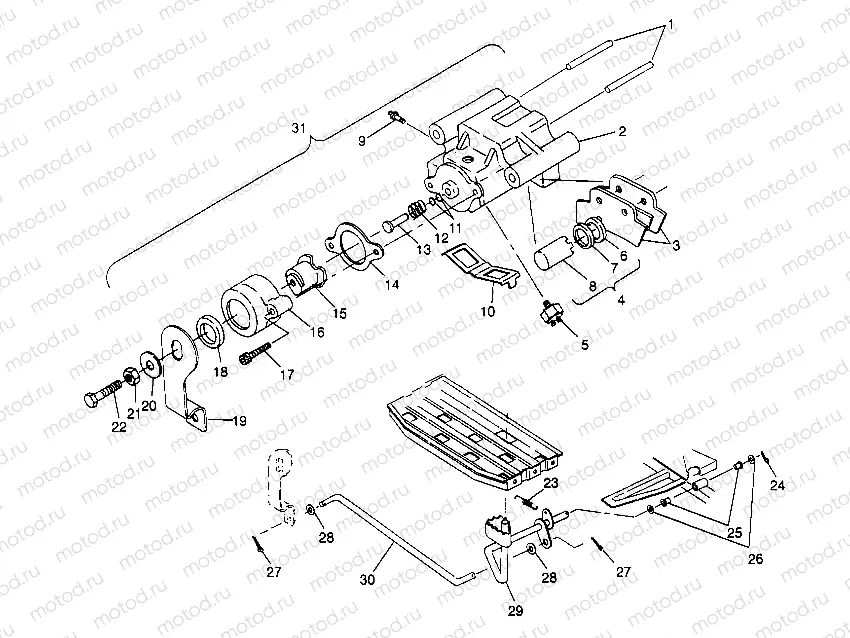
1
7661820
Dowel pin
2
9990005
Crankcase, RH
3
2200464
KIT REAR.BRAKEPAD MED.DUTY
4
2200463
KIT PISTON&SEAL
5
4110164
SWITCH STOPLIGHT
6
LR--
CALIPER, BRAKE, RH
8
2200463
KIT PISTON&SEAL
9
7080352
SCREW BLEEDER
10
5222232
SPRING,ANTI-RATTLE
11
5411432
O RING
13
5020666
PIN,BRAKE CALIPER
14
5830009
GASKET BRAKE
15
9990000
Suspension, Rear
16
9990000
Suspension, Rear
17
7512173
SCREW(10)
18
3610026
SEAL BRAKE
19
5240624
ARM,BRAKE CALIPER
20
7555828
WASHER SPRING
21
7542129
Nut
22
7515145
Vis
23
7042029
Spring
24
7661401
PIN COTTER
25
5431107
BUSHING PEDAL PIVOT
26
7558702
WASHER THRUST
27
7661203
PIN COTTER
28
7555806
WASHER FLAT
29
1910144-067
FOOTBRAKE,BLK.
30
5224531
ROD, BRAKE
31
1910156
CAL.ASM,REAR BRAKE Substituted by 1910180 (Incl. 1-22)

Узлы для