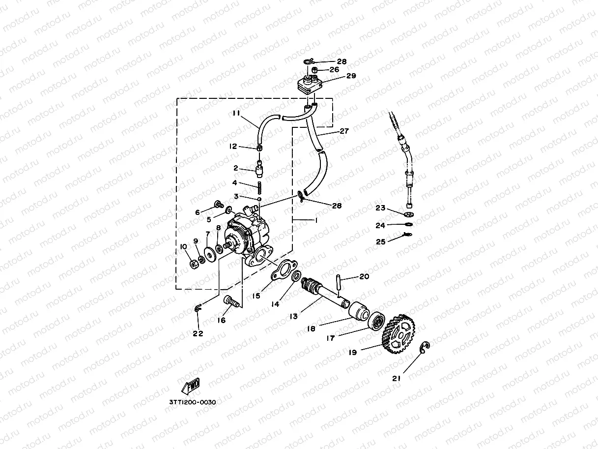
OIL PUMP

OIL PUMP

Узлы для