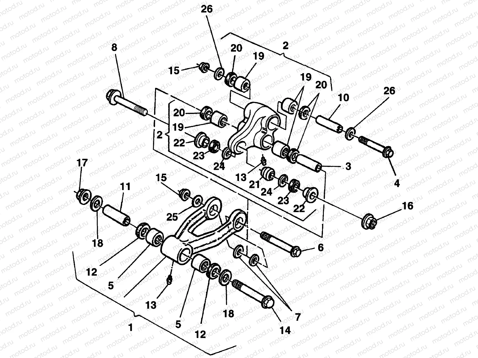
LINKAGE SUSPENSION

LINKAGE SUSPENSION
1
800096922
ARM SET, SUSPENSION REAR
2
800096923
ROCKING LEVER
3
800086176
WRIST PIN 22X15X50.4
4
8A0086138
Vis (spec)
5
800086136
BEARING, NEEDLE HK2216
6
800093124
AXLE M12X1.25X103 MM
7
8000H3015
Entretoise
8
8D0062797
SCREW TE M10X1.25X47 CH14
10
800086176
WRIST PIN 22X15X50.4
11
8A0086176
WRIST PIN 22X15X50.4
12
800038521
OIL SEAL 28X22X4
13
800001412
NIPPLE, GREASE M6X1
14
8C0086138
Vis (spec)
15
800042023
Nut (M12x1.25)
16
Z00042022
Nut (Lock M10)
17
800042023
Nut (M12x1.25)
18
8000H3014
Rondelle
19
800086136
BEARING, NEEDLE HK2216
20
800086137
Joint (34x26x4)
21
800072168
SPHERICAL JOINT END
22
151133302
BUSH
23
800038767
GROMMET 26X15X3MM
24
800090561
CIRCLIP RB 26 DIN 7993
26
8000H3015
Entretoise

Узлы для