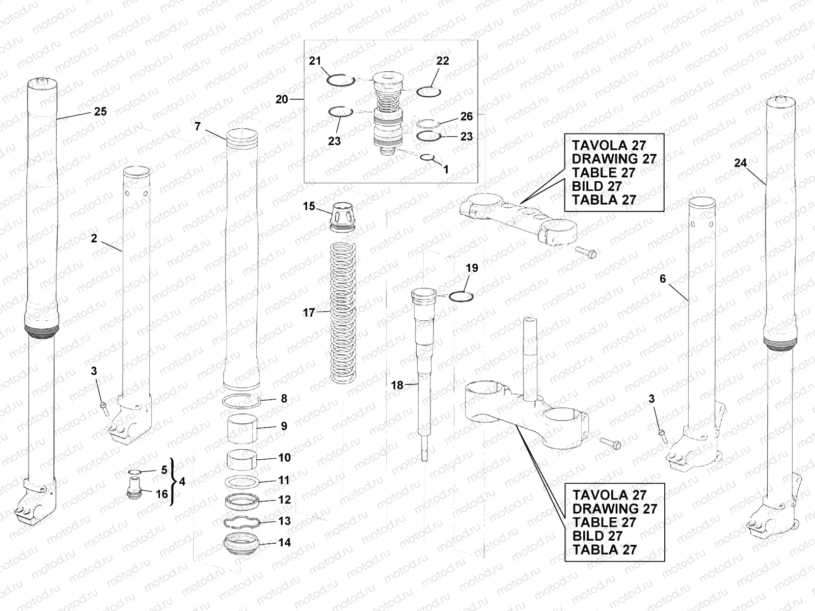
FRONT FORK

FRONT FORK
1
8000H2679
PISTON RING
2
8000H2658
RH ASSEMBLY
3
8000H2671
Vis
4
8000H2670
PLUG
5
8000H2678
LOWER VALVE O-RING
6
8000H2657
FORK INNER TUBE LH
7
8000H2656
PIPE ASSY
8
8000H2672
RING
9
8000H2659
PISTON
10
8000H2660
BUSHING
11
8000H2661
GASKET, OIL CAP
12
8000H2662
OIL SEAL
13
8000H2663
Rondelle
14
8000H2664
STRIPPER
15
8000H7701
COLLAR COMP.
16
8000H2676
VALVE SUPPORT
17
8000H2685
SPRING K=4,8 NEWTON/MM
18
8000H7699
CYLINDER ASSY.
19
8000H2673
CYLINDER O-RING
20
8000H7700
VALVE ASSY.,BASE
21
8000H2674
O-Ring
22
8000H2677
O-Ring
23
8000H2683
PISTON RING
24
8000H7053
LH FORK LEG ASSY
25
8000H7054
RH FORK LEG ASSY
26
8000H2681
PISTON RING

Узлы для