FRONT FORK (2 OF 2)

FRONT FORK (2 OF 2)
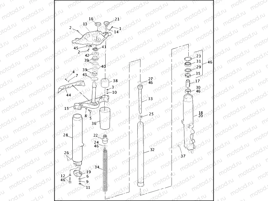
28
FORK SLIDER, right (polished)
28
FORK SLIDER, left (polished)
29
45865-84
SEAL SPACER
30
45866-84
SLIDE BUSHING
31
45875-84A
OIL SEAL
32
45890-97
STANCHION TUBE
33
45891-97
DAMPER TUBE
34
SPRING
35
45940-84
GUIDE BUSHING
36
45964-86
FORK SLIDER COVER, FRONT
37
46020-84
BUSHING, CALIPER BOOT
38
47530-79B
FORK STOP, FHLR, HTC, HTCU, HT
39
48300-60
STEERING HEAD BEARING KIT
40
48315-60
STEERING HEAD BEARING CUP
41
48333-80
BEARING ADJUSTER, FRONT FORK
42
48361-80
DUSTSHIELD
43
48365-48A
BEARING GUARD
44
58520-79B
AIR BAFFLE, GLOSS BLACK
45
CLAMP
46
49377-09A
KIT-FORK REBUILD,SOFTAIL/FLT

Узлы для