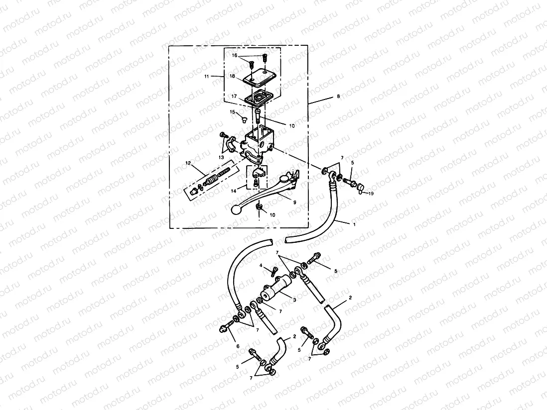
Front Brake Master Cylinder

Front Brake Master Cylinder
1
2020009-T0301
Durite de frein
1
2023060-T0301
Durite de frein
2
2020030-T0301
Durite de frein
2 шт. в узле
2
T2020649
Durite de frein
2 шт. в узле
3
2020012-T0301
Joint
4
T3331234
Screw, Torx, P/H, M6 x 20, Slv
2 шт. в узле
5
T3250125
Bolt, Banjo, M10 x 21
4 шт. в узле
6
T3250019
Bolt, Banjo, M10 x 31
7
T3550229
Washer, 15.2 x 10 x 1, Plated
11 шт. в узле
8
2020750-T0301
Master cylinder assembly
8
2020101-T0301
Master cylinder assembly
8
2020100-T0301
Master cylinder assembly
8
2020751-T0301
Master cylinder assembly
9
T2020110
Lever Assy, Adj, Front M/Cyl
10
T2020158
Lever, Bolt, Front M/Cyl
11
2020188-T0301
Cover set
11
T2020152
op Set, Front M/Cyl
12
T2020003
Piston Set, M/Cyl, 14.0
12
T2020002
Piston Set, M Cylinder
13
T2020156
M/Cyl Holder Set
14
T2021217
Switch Set
15
T3450015
Plug, M10
16
T2020166
Screw, Reservoir
2 шт. в узле
17
T2020164
Diaphragm, Reservoir
18
2020004-T0301
Couvrir
18
2020005-T0301
Couvrir
19
T2020074
Boot cover

Узлы для