CARBURADOR

CARBURADOR
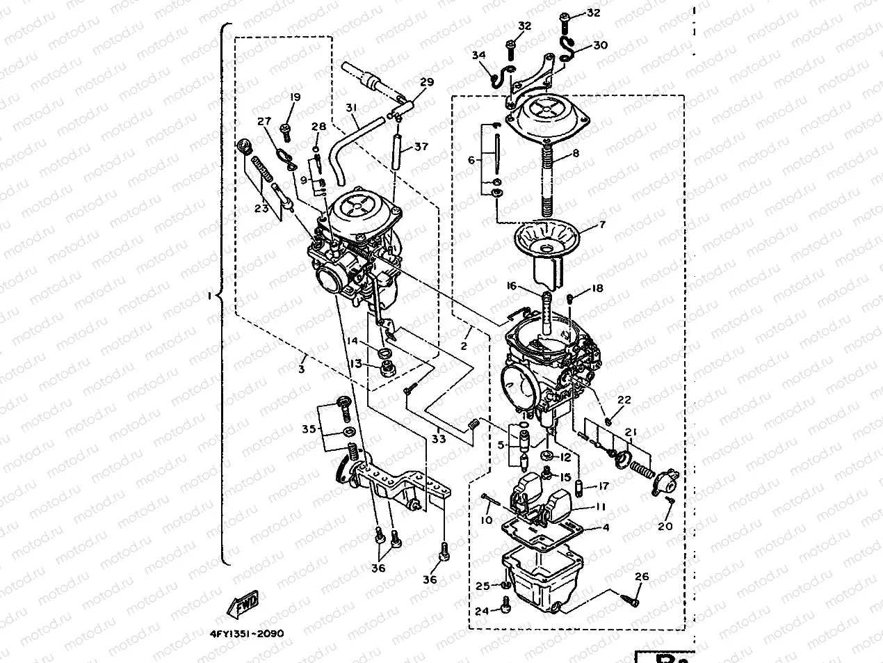
1
4FY-14900-00
Carburettor
2
3CG-14901-01
arburettor
3
3CG-14902-01
ARBURETOR ASSY 2
4
3CF-14984-01
Прокладка камеры
2 003 ₽/шт
5
3CF-14107-15
Needle Valve Set
7 388 ₽/шт
6
3CN-1490J-00
Игла
5 153 ₽/шт
7
3CF-14940-00
Diaphragm Assembly
20 877 ₽/шт
8
3CF-14933-00
SPRING, DIAPHRAGM
9
537-14105-00
..PILOT SCREW SET
10
537-14186-00
Ось поплавка
223 ₽/шт
11
2VA-14185-00
Поплавок
7 279 ₽/шт
12
137-14153-00
Шайба
302 ₽/шт
13
3CF-14991-00
..SCREW
14
256-14954-00
Шайба
766 ₽/шт
15
620-1423A-75
Жиклер главный (122.5)
1 907 ₽/шт
16
3CF-14141-94
Распылитель главный
6 721 ₽/шт
17
4G0-14142-40
Жиклер (40)
2 050 ₽/шт
18
3G2-14231-12
Жиклёр (#60)
1 669 ₽/шт
19
97885-05010
Винт
95 ₽/шт
20
98580-04008
Винт
111 ₽/шт
21
3CF-1490H-00
DIAPHRAGM SET 5
22
1HX-14231-28
Жиклёр (140)
1 351 ₽/шт
23
3CF-1410A-00
Starter Set
6 441 ₽/шт
24
98580-05014
Винт
120 ₽/шт
25
92990-05100
Шайба
111 ₽/шт
26
12R-14191-00
Пробка сливная
906 ₽/шт
27
2JU-14937-00
Clip
1 637 ₽/шт
28
22F-14991-00
Колпачок винта
779 ₽/шт
29
3CF-14251-00
NIPPLE
30
3CF-14937-00
.CLIP
31
3CG-14197-00
PIPE
32
98580-05012
Винт
223 ₽/шт
33
3CF-1490K-00
STOP SCREW SET
34
3CF-14919-00
lip
1 811 ₽/шт
35
3CF-14103-01
.THROTTLE SCREW SET
36
98580-05014
Винт
120 ₽/шт
37
3CF-14197-00
Трубка
2 925 ₽/шт

Узлы для