ALTERNATE FOR CARBURETOR

ALTERNATE FOR CARBURETOR
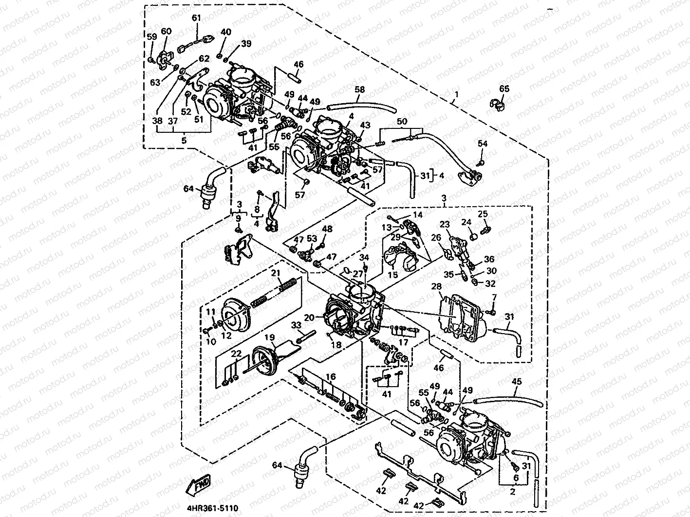
1
4HN-14900-10
Carburettor
2
4HN-14901-10
CARBURETOR ASSY 1
3
4HN-14902-10
.CARBURETOR ASSY 2
4
4HN-14903-10
.CARBURETOR ASSY 3
5
4HN-14904-10
.CARBURETOR ASSY 4
6
12R-14191-00
Пробка сливная
906 ₽/шт
7
98580-05012
Винт
223 ₽/шт
8
98580-04008
Винт
111 ₽/шт
9
98580-04008
Винт
111 ₽/шт
10
90157-05M19
Винт
143 ₽/шт
11
92907-05100
Шайба гроверная
159 ₽/шт
12
92907-05600
Шайба
95 ₽/шт
13
3EN-14147-00
Кольцо уплотнительное
540 ₽/шт
14
53L-14186-00
Ось поплавка
556 ₽/шт
15
3GM-14985-00
Поплавок
4 874 ₽/шт
16
3EN-1410A-01
Starter Set
8 521 ₽/шт
17
12R-14105-00
Винт регулировочный
3 306 ₽/шт
18
3FV-14147-00
Кольцо уплотнительное
1 446 ₽/шт
19
3GM-14940-00
Diaphragm Assembly
16 607 ₽/шт
20
3GM-1411E-00
Block, Jet
8 808 ₽/шт
21
4HD-14933-00
SPRING, DIAPHRAGM
22
4HD-1490J-20
NEEDLE SET
22
4HD-1490J-30
NEEDLE SET
23
4HD-1411A-10
BLOCK JET ASSY
24
3GM-14153-00
Plate,baffle
514 ₽/шт
25
4HD-14565-00
Болт
1 311 ₽/шт
26
3LF-14147-00
Кольцо уплотнительное
2 178 ₽/шт
27
1AE-14147-00
Кольцо уплотнительное
1 160 ₽/шт
28
3GM-14997-00
Уплотнитель
1 399 ₽/шт
29
3GM-14107-10
Needle Valve Set
9 328 ₽/шт
30
3LD-14147-00
Кольцо уплотнительное
795 ₽/шт
31
3JE-14197-00
Трубка
1 280 ₽/шт
32
3G2-14231-24
Главный жиклер
1 764 ₽/шт
33
4HD-1414M-92
..NOZZLE, MAIN
34
830-14231-29
Жиклер главный (145)
828 ₽/шт
35
4G0-14142-45
Жиклер пропускной (45)
2 003 ₽/шт
36
3G2-1423A-62-A0
Jet, Main (#57.5)
2 050 ₽/шт
37
4HD-14291-00
BRACKET 1 (1)
38
98580-04008
Винт
111 ₽/шт
39
92990-05600
Шайба
95 ₽/шт
40
95380-05600
Гайка
152 ₽/шт
41
4KM-1490K-00
Stop Screw Set
998 ₽/шт
42
3EN-14261-00
HOLDER
43
3GM-14918-00
Ring
1 126 ₽/шт
44
17A-14251-00
Золотник
2 750 ₽/шт
45
3GM-14197-00
PIPE
46
3HD-14988-00
.PIPE, STARTER CONNECTING
47
3EN-14997-00
Уплотнение
509 ₽/шт
48
1KT-14994-00
Сетка фильтрующая
2 321 ₽/шт
49
36Y-14147-00
Кольцо уплотнительное
747 ₽/шт
50
3GM-14103-00
THROTTLE SCREW SET
51
92990-06600
Шайба
95 ₽/шт
52
95380-06600
Гайка
95 ₽/шт
53
3EN-14988-00
PIPE, STARTER CONNECTING
54
98580-05008
Винт
159 ₽/шт
55
3GM-14251-00
NIPPLE
56
3LK-14147-00
Кольцо уплотнительное
1 462 ₽/шт
57
3GM-14992-00
ROD
58
50H-14987-00
ose
3 735 ₽/шт
59
4KM-24453-00
Винт
461 ₽/шт
60
4HD-85885-00
Датчик положения заслонок
24 992 ₽/шт
61
4HD-14188-00
Коннектор
8 092 ₽/шт
62
4HM-14239-00
Уплотнение
842 ₽/шт
63
4KG-14285-00
Шайба
238 ₽/шт
64
3GM-14197-00
PIPE
65
90464-09M31
Зажим
175 ₽/шт

Узлы для