15A - HEADLAMP (E21)

15A - HEADLAMP (E21)
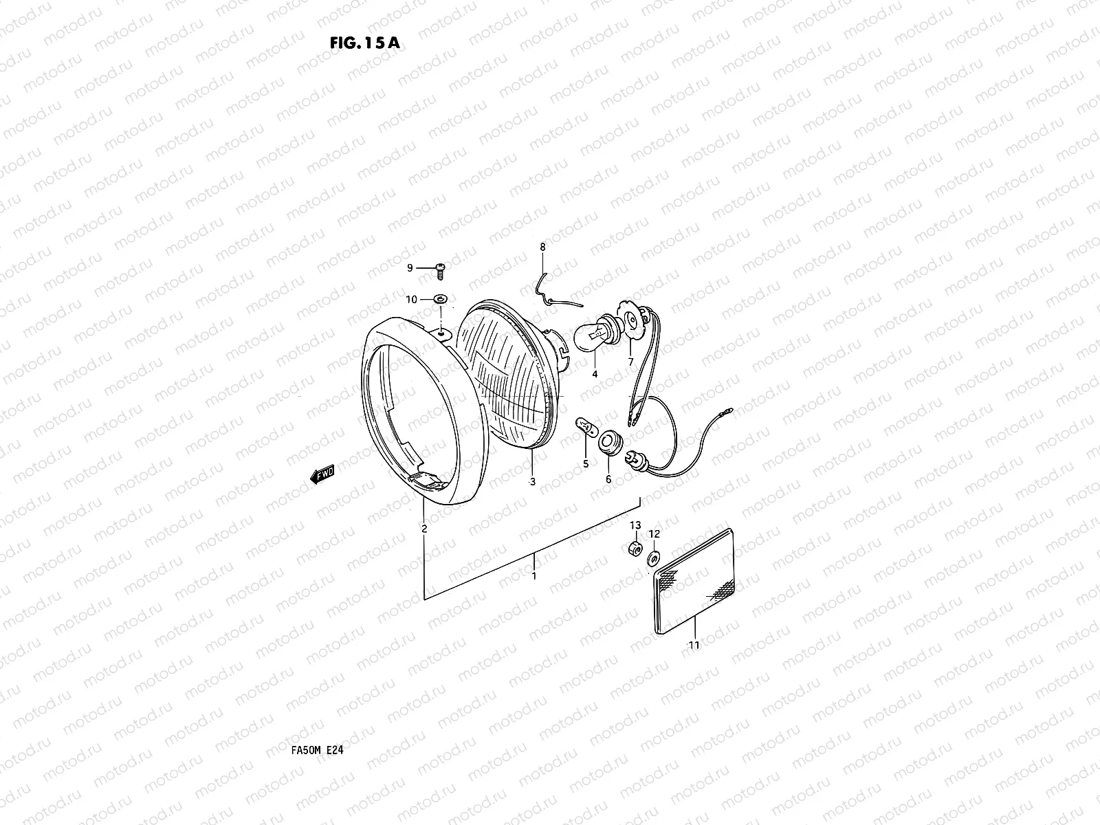
1
35100-02250
Headlamp assy
2
35111-02420
.rim
3
35121-02250
.unit
4
09471-06035
.bulb (6v,15w)
5
09471-06027
BULB(6V4W,STANLEY,A1364J)
3 280 ₽/шт
6
36116-22630
JOINT,RUBBER
422 ₽/шт
7
35171-02250
.socket
8
35154-02420
.spring
9
02142-04127
Винт 4X12 CROS
81 ₽/шт
10
08322-01047
Шайба
85 ₽/шт
11
35950-26941
Reflex reflector, front side
12
08322-0105B
Шайба
81 ₽/шт
13
08310-00057
Гайка
81 ₽/шт

Узлы для