ELECTRICAL | ELECTRICAL, OPTIONS, LIGHTBAR, AERO DUAL HALOGEN, RED - e2/e4/e6/eS/eL/eLXD (49GEMOPTIONS11LIGHTBARE2)

ELECTRICAL | ELECTRICAL, OPTIONS, LIGHTBAR, AERO DUAL HALOGEN, RED - e2/e4/e6/eS/eL/eLXD (49GEMOPTIONS11LIGHTBARE2)
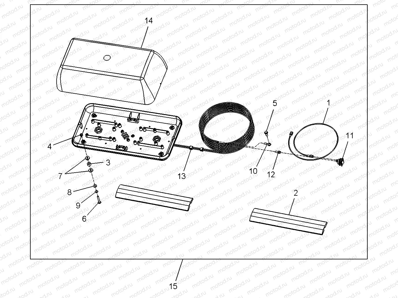
1
0106010-74
Assy, Wire Harness, 2005, Heater Switch
2
0317013-26
Molding, Roof Panel, Lightbar
3
0519005-53
Spacer, Black
4
0521001-88
Nut, Hex, Nylock
5
0523000-32
Screw, Hex [eLXD Only]
6
0523005-55
Screw, Truss Head Phil
7
0524005-52
Washer, Rubber
8
0524006-37
Rondelle
9
0524006-56
Rondelle
10
0606004-06
Terminal, Ring
11
0606005-37
Switch, Heater, Threaded Round Rocker
12
0606009-26
Terminal, Spade, Female Insulated
13
0619003-59
Bushing, Open/Close
14
0652009-11
Lightbar, Dual Halogen, Red
15
0152036-44
Assy, Lightbar, Dual Halogen, Red, Install Kit

Узлы для